厦门工厂设备一站式回收 电脑、二手设备与屏风的绿色循环方案
上海小米通讯技术公司注销 计算机软硬件批发业务调整
联想天骄发布系列专为学生打造的全场景产品,覆盖一体电脑、笔记本及投影机等计算机软硬件及辅助设备
平板电脑充电柜的多设备充电能力及其在计算机软硬件批发领域的应用
电脑维修与批发服务,闵行、宝山、嘉定、青浦、奉贤全区域上门支持
8.4寸工控平板电脑 集成WIFI/3G/GPS与来电开机功能的工业级解决方案
计算机软硬件批发中如何区分机械硬盘与固态硬盘
红色激情 电竞外围设备在计算机软硬件批发市场的新风尚
软硬件环境测试 让您的爱机用的更久
迎开学 神舟精品电脑周末细细看
上海环瑞计算机科技电脑读卡器产品列表与计算机软硬件及辅助设备批发服务
二维氮化硼绝缘导散热膜在手机、平板、电脑、AR/VR产品中的应用与计算机软硬件及辅助设备批发前景
北京标准富德科技与切它网(QieTa.com) 引领计算机软硬件批发的创新先锋
爱施德投资成立数码公司,布局家用电器与计算机硬件销售业务
星级酒店客房专用智能电脑电视一体机 工厂直销,代理招募
专业电脑维护服务 免费上门,包月无忧,覆盖网吧、工厂、酒店及旅馆
新紫光集团联手成立芯紫志高科技公司,注册资本1000万元专注计算机软硬件批发
千库网高清免费卡通电脑全套设备素材 编号5846329,轻松获取手绘PSD资源
千万别看不起XP系统 一场30万的危机与硬盘、内存、主板的惊魂修护
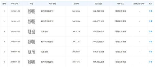
赛力斯申请“凤凰智创”商标,布局计算机软硬件及辅助设备批发领域
如若转载,请注明出处:http://www.sdjfoiahsd97281.com/product/list-2.html